East Sun Hardware Group Co.,Ltd
Home » Products » Shower Hardware » Shower Room Connectors » KF-050-shower room connectors

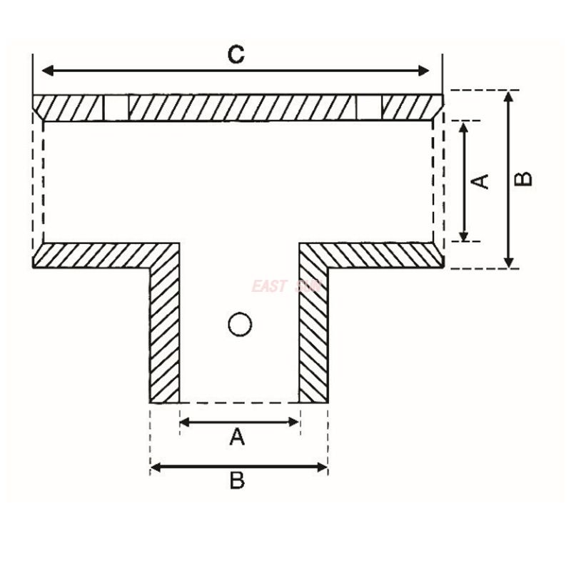
KF-050-shower room connectors

  • 90°

  • Stainless steel

  • handle

Availability:
Quantity:
Previous: 
Next: